【空自・那覇基地】返還予定無し★★倍率55.0倍★★上昇率約0.83%★★単独名義★★安定した資産運用に♪分筆もご相談ください!
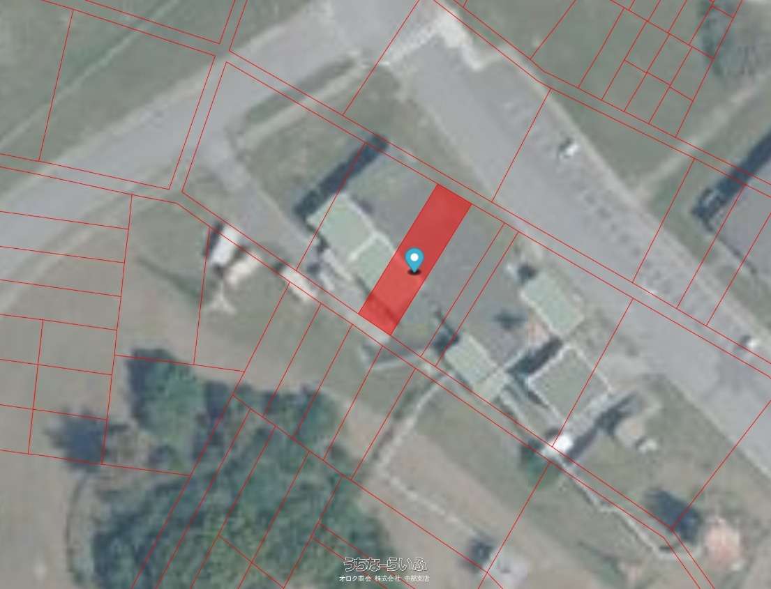
軍用地那覇市当間 140.86㎡
価格 3,720万円
物件情報
| 価格 | 3,720万円 | 所在階/階数 | - |
|---|---|---|---|
| 建物面積 | - | 土地面積 | 140.86m² / 42.61坪 |
| 私道負担 | - | 土地権利 | 所有 |
| 間取り | - | ペット | - |
| 築年月 | - | 地目 | 宅地 |
| 引渡し | 相談 | 都市計画 | - |
| 用途地域 | - | 取引態様 | 仲介 |
| 建ぺい率 / 容積率 | - / - | 所在地 | 那覇市当間 地図 |
| 接道方向 / 道路幅員 | - | 構造 | - |
| 交通 | - | 価格備考 | その他費用:所有権移転登記費用、収入印紙(契約書貼付用)、仲介手数料 軍用地料、地主会費用、固定資産税清算等 |
| 更新日 | 2026/04/28 | 公開期限 | 2026/05/11 |
この物件の設備・条件
| 投資収益 | 収益物件 、 軍用地 |
|---|
物件備考
| 備考 | ●固定資産税、地主会費、地料日割精算:有 ●令和7年度_年間土地賃借料:676,764円 ●令和7年度_固定資産税:53,836円 ●令和7年度_上昇率:約0.83% ●土地明細書(地目:宅地 種別:宅地) ●返還予定:無 ●地目変更費用:無 ●所有権移転費用:買主負担 ●初期費用の概算書も送付できますのでお気軽にご連絡ください。 ※上記表示価格(土地賃借料含)は、㎡単位により算出しております。小数点以下の処理方法により増減が生じる場合がございますので、予めご了承下さい。 ※土地賃借料、上昇率等は令和7年度の施設単価を基に計算、算出しております。 |
|---|
【掲載物件について】
・「うちなーらいふ」は、より正確な情報の提供を心がけておりますが、物件情報に誤りがある場合は、ご連絡をお願い致します。
・ご報告いただいた内容につきましては、掲載提供元である不動産会社に直接送信させていただきます。情報が不足している場合や、事実確認ができない場合などは対応できない場合がございます。
・本フォームは物件情報の誤りに関する報告専用です。賃貸・売買に関するお問い合わせには対応しておりませんので、あらかじめご了承ください。
こちらをクリックして物件の間違いを報告する。





















